资本市场的隐秘法则:机构净流出与股价狂欢的矛盾统一
在资本市场的广袤丛林中,一个现象引发了广泛的思辨:当一家企业股价创下历史新高,以涨停之姿傲视群雄时,其背后却隐藏着机构投资者大规模撤离的踪迹。这种“涨停与净卖出”并存的矛盾景观,不仅是简单的数字游戏,更是一场关于投资者心理与博弈哲学的深度对话。如果股价反映了所有已知信息,那么这种背离究竟意味着什么?是否预示着某种深层的结构性变化?
我们可以提出一个假设:涨停板是市场情绪的放大器,而机构的净卖出则是理性价值的回归。当大众投资者在涨停的狂欢中寻找确定性时,机构投资者却在利用这种狂欢带来的流动性溢价,完成资产配置的再平衡。这种逻辑上的断层,恰恰构成了市场最迷人的部分。对于局外人而言,这种反直觉的操作往往令人困惑,但对深谙博弈之道的人来说,这正是市场自我调节机制的体现。
思辨核心:博弈论视角下的涨停板逻辑
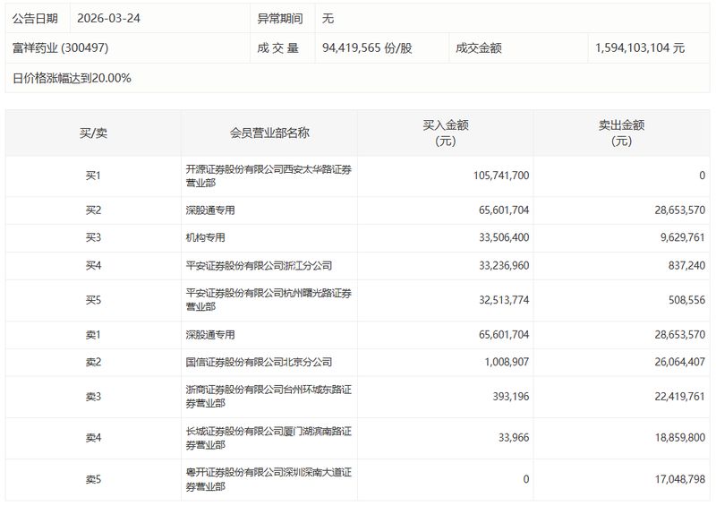
在博弈论的语境下,每一个涨停板都是一场参与者之间的零和游戏。机构卖出1.95亿元,不仅是为了锁定利润,更是在评估未来风险与收益的对称性。如果我们将市场视为一个拥有自我意识的复杂系统,那么机构的撤退可以被解读为系统对“过热”的一种排异反应。这种排异并非为了摧毁,而是为了通过降低持仓成本,以应对未来可能出现的周期性波动。
问:为什么机构选择在涨停时卖出,而不是在股价低迷时布局?答:因为涨停提供了最充沛的流动性。在资本市场中,流动性本身就是一种稀缺资源。当股价处于高位,买盘蜂拥而至,机构卖出所产生的冲击成本最低。这是一个极具哲学意味的现象:为了保护自身的利润,机构必须选择在市场最看好时离场。这不仅仅是操作技巧,更是一种对市场周期深刻洞察后的决策产物。
哲学应用:在波动中寻找秩序的锚点
如何应对这种充满了矛盾与不确定性的市场波动?答案或许不在于寻找预测涨跌的圣杯,而在于建立一套能够包容不确定性的思维框架。首先,我们需要接受“涨停并不代表未来”这一事实。股价的每一次跳动,都是无数参与者心理博弈的结果,而非真理的宣示。其次,我们需要学会识别“表象”与“本质”的区别。机构的卖出是表象,其背后的资产配置逻辑与风险预判才是本质。
在参与市场时,我们可以引入“防御性思考”模式。当你看到涨停板时,不要急于加入狂欢,而是先问自己:如果机构正在离场,那么谁在接盘?接盘者的动机是什么?这种反向思维能帮助我们在喧嚣中保持清醒,避免成为市场情绪的牺牲品。最终,投资的成功不在于我们抓住了多少个涨停,而在于我们是否在每一次波动中,都保持了逻辑的严密与认知的独立。资本市场就像一面镜子,映照出的不仅是财富的起落,更是我们内心深处对风险与机会的真实态度。



